
105037, г. Москва, Измайловский проезд, д. 11, стр.2.
тел. +7 (495) 234-78-05; +7 (495) 764-27-21
www.avtotehexpert.ru, е-mail: avtotehexpert@mail.ru
ЗАКЛЮЧЕНИЕ СПЕЦИАЛИСТА
№ ...
... ООО «ЭКЦ «Автотранспорт» и ... заключили договор ... на проведение химического исследования масляных отложений на деталях двигателя мотоцикла BMW S1000RR, идентификационный номер ..., а также исследование моторного масла..
Целью исследования является:
1. Определение структурно-группового состава отложений вещества, имеющихся на поверхности, представленных на исследование вкладышей двигателя.
2. Сравнительный анализ химического состава образцов моторных масел: Castrol Power 1 Racing 4T 5W-40, MOTUL 300V 4T FACTORY LINE 10W-40 и масла, отобранного из двигателя мотоцикла.
На исследование представлены:
- образец моторного масла, отобранный двигателя мотоцикла;
- образец моторного масла «Castrol Power 1 Racing 4T» SAE 5W-40;
- образец моторного масла «MOTUL 300V 4T FACTORY LINE» SAE 10W-40;
- вкладыши двигателя.
Образец сравнения моторного масла марки «Castrol Power 1 Racing 4T» SAE 5W-40 в пластиковой канистре объемом 1,0 с завинчивающейся крышкой представляет собой вязкую прозрачную подвижную жидкость желтого цвета. Общий вид канистры с маслом приведен на фото №1-2. Обозначен как объект №1.
Масло полностью растворяется в гексане, бензоле, хлороформе, имеет показатель преломления (nD20) равный 1,4640. Значение показателя преломления находится в интервале значений соответствующих для синтетических углеводородных масел.
Спецификации / Допуски
- SAE 5W-40
- API SL
- JASO MA-2
- Специальное одобрение BMW для мотоциклов серий К1300 и К1200
- Специальное одобрение Kawasaki для мотоциклов моделей KX450F и KX250F.
Образец сравнения моторного масла марки «MOTUL 300V 4T FACTORY LINE» SAE 10W-40 в пластиковой канистре объемом 1,0 с завинчивающейся крышкой представляет собой вязкую прозрачную подвижную жидкость желто-зеленого цвета. Общий вид канистры с маслом приведен на фото № 3-3. Обозначен как объект №2.
Масло полностью растворяется в гексане, бензоле, хлороформе, имеет показатель преломления (nD20) равный 1,4660. Значение показателя преломления находится в интервале значений соответствующих для синтетических углеводородных масел.
Физико-химические данные
Цвет Желто-зеленый флюоресцентный
Класс вязкости SAE J 300 10W-40
Плотность при 20° С (68° F) ASTM D 1298 0,852 г/см³
Вязкость при 40° С (104° F) ASTM D 445 82.1 мм²/с
Вязкость при 100° С (212° F) ASTM D 445 13,1 мм²/с
Индекс вязкости ASTM D 2270 160
Температура вспышки ASTM D 92 250°C / 482°F
Температура замерзания ASTM D 97 -36°C / -32.8°F
TBN (щелочное число) ASTM D 2896 8,3 мг KOH/г
Образец масла моторного, отобранный из двигателя мотоцикла находился в 2 двух прозрачных полимерных стаканах с крышками, на которых имеются пояснительные надписи (фото 5,7) и представляет собой легко подвижную полувязкую жидкость темно коричневого цвета со специфическим запахом, характерным для бензина - объект №3.
Общий вид стаканов с образцами моторного масла приведен на фото № № 6,8.
С целью установления наличия в масле посторонних абразивных механических примесей, масло из мотоцикла осторожно сливали. Оставшийся на дне стаканов густой остаток разбавляли гексаном, который отфильтровывали через бумажный фильтр. После окончания фильтрования на поверхности фильтра имелись металлические частицы серого, серебристого и желтого цвета. Общий вид металлических частиц приведен на фото №.9.

Металлические частицы и загрязнения неорганического происхождения (абразивные примеси) попадают в масло в результате износа деталей двигателя, недостаточной очистки всасываемого воздуха, нейтрализации присадками кислот, а также металлорганические соединения меди, железа и других металлов, образующиеся в результате коррозии деталей двигателя и взаимодействия частиц изношенного металла с органическими кислотами, образующимися при окислении масла. Все эти вещества каталитически ускоряют процесс окисления масла.
Вкладыши двигателя находились в двух бумажных салфетках. Общий вид вкладышей приведен на фото № №10-13.
На поверхности вкладышей имеются следы попадания инородного тела (абразивные примеси) в виде точек и наслоения в виде лака коричневого цвета (лаками называют откладывающиеся на горячих поверхностях прозрачные, очень прочные, практически ничем не растворимые пленки, состоящие из продуктов окисления).




В связи с тем, что на поверхности вкладышей имеются наслоения в виде лака, то проводили модельный эксперимент по установлению влияния температуры нагрева на лакообразование моторного масла, отобранного из мотоцикла и образцов моторных масел марок «MOTUL 300V 4T FACTORY LINE» SAE 10W-40 и «Castrol Power 1 Racing 4T» SAE 5W-40.
При нанесении несколько капель масла «MOTUL 300V 4T FACTORY LINE» SAE 10W-40 на алюминиевую подложку, нагретую до 100°С, масло расплывается по подложке в виде тонкого слоя. Никаких изменений в масле не наблюдается, даже в течение 1 часа. При нагревании в интервале от 150°С до 185°С в течение 5—6 минут происходит значительные изменения масла. Как только капля масла расплывается по подложке, то начинается испарение и разложение масла. Оставшийся на подложке слой масла постепенно темнеет и превращается в твердую лаковую пленку коричневого цвета с блестящей поверхностью Такое изменение масла связано с быстрым окислением его кислородом воздуха. Аналогичная пленка, только более темного цвета получалась из образца моторного масла, отобранного из мотоцикла. Наряду с лакообразованием происходит испарение и разложение масла, в результате чего часть масла улетучивается. Внешний вид лаковых пленок приведен на фото № 14.
Лакообразование из образца масла Castrol Power 1 Racing 4T» SAE 5W-40 при указанных условиях происходит незначительно.

3.1. Исследование газовой фазы.
Анализ проводили для установления наличия бензина в моторном масле из двигателя мотоцикла (объект №3).
Для этого пробу объекта наливали в бюкс, который помещали в герметичную емкость. Емкость выдерживали в термостате при tо=100оС в течение 20 мин. Далее шприцом отбирали воздушную пробу и вводили ее в испаритель хроматографа.
Исследование проводили на газовом хроматографе «Кристалл 2000 М».
Условия хроматографического анализа (1).:
| Продолжительность анализа: | 01:00:00 | |
| Колонка, °С: | 35,00 | |
| Температура, °С | Длительность | Скорость, °С/мин |
| 35,00 | 00:05:00 | 10,00 |
| 200,00 | 00:01:00 | 15,00 |
| 280,00 | ||
| Испаритель, °С | 250,00 | |
| Детектор, °С: | 250,00 | |
| Скорость газа-1 (Азот), см/с: | 28,00 | |
| Поток газа-1 (Азот), мл/мин: | 1,1 | |
| Расход газа-1 (Азот) (сброс пробы), мл/мин: | 20,00 | |
| Расход газа-2 (Водород), мл/мин: | 20,00 | |
| Расход газа-3 (Воздух), мл/мин: | 200,00 | |
| КОНФИГУРАЦИЯ | ||
| Неподвижная фаза: | ZB-1 | |
| Длина колонки, м: | 30,00 | |
| Диаметр колонки, мм: | 0,25 | |
На хроматограмме ГФ над объектом № 3 (рис. 1) зарегистрирован комплекс пиков, соответствующих по временам удерживания н-парафиновым углеводородам С4–С11, изопарафинам, алкилпроизводным бензола. Такой углеводородный состав и соотношение его компонентов характерны для автомобильных бензинов. Для сравнения на рис. 14 приведена хроматограммой бензина А-80 Московского НПЗ из коллекции лаборатории.
Таким образом, на основании результатов проведенного исследования можно заключить, что в составе масла из двигателя мотоцикла (объект №3) имеется бензин.

3.2. Исследование растворов
Анализ проводили с целью определения вида синтетической основы объектов №№ 1-3. Объекты №№ 1,2,3 смешанные с гексаном в соотношении 1:1.
Исследование проводили на газовом хроматографе «Кристалл 2000 М». Условия хроматографического анализа (условия 2) и хроматограммы приведены ниже. Хроматограммы обработаны с использованием программного комплекса «Хроматэк Аналитик 2.5».
Условия ГЖХ-анализа (2).
| Температурный режим анализа | ||
| Колонка, °С: | 35,00 | |
| Температура колонки °С | Длительность изотермы, мин | Скорость подъема температуры, °С/мин |
| 100,00 | 00:01:00 | 18,00 |
| 285,00 | до завершения выхода пиков | |
| Испаритель, °С | 2750,00 | |
| Детектор, °С: | 285,00 | |
| Скорость газа-носителя 1 (азот), см/с: | 28,00 | |
| Расход газа-носителя 2 (азот), мл/мин: | 30,00 | |
| Деление потока: | 1 к 30 | |
| Расход водорода, мл/мин: | 40,00 | |
| Расход воздуха, мл/мин: | 400,00 | |
| Конфигурация колонки | капиллярная | |
| Неподвижная фаза: | ZB-1 | |
| Длина колонки, м: | 30,00 | |
| Диаметр колонки, мм: | 0,25 | |
На хроматограммах объектов №1-2 зарегистрирован комплекс практически не разделенных пиков, выходящих на «горбе», в интервале от 8 до 25 мин. удерживания (рис 2-3).
При сравнение полученных хроматограмм с хроматограммами масел различного вида, имеющимися в электронной базе данных лаборатории, установлено, что они удовлетворительно совпадают с хроматограммой углеводородных масел, полученных по технологии гидрокрекинга и гидроизомеризации. Такие масла относятся к синтетическим. Хроматограммы масел данного типа отличается от хроматограмм минеральных (нефтяных) масел отсутствием выраженных пиков, соответствующих н-парафиновым углеводородам фрагмента гомологического ряда С15 – С20, элюирующихся на восходящем участке хроматограммы.


На хроматограмме (рис 4) масла из мотоцикла зарегистрирован комплекс пиков, соответствующих по временам удерживания углеводородам бензина, комплекс практически не разделенных пиков, выходящих на двух «горбах», в интервале от 8 до 16 мин. и от 16 до 22 мин. Такой профиль хроматограммы свидетельствует, что в составе масла из мотоцикла, кроме углеводородного масла, полученного по технологии гидрокрекинга, содержатся и более высокомолекулярные углеводороды, возможно, относящиеся к тетрамерам полиальфаолефинового масла.
Таким образом, на основании полученных результатов можно заключить, что моторные масла, образцы которых представлены на исследование, изготовлены на базе синтетических углеводородных масел, полученных по технологии гидрокрекинга.
Состав масла из мотоцикла, отличается от масел Castrol Power 1 Racing 4T 5W-40 и MOTUL 300V 4T FACTORY LINE 10W-40 тем, что кроме углеводородного масла, полученного по технологии гидрокрекинга, содержит и более высокомолекулярные углеводороды, а также бензин и абразивные частицы металлов.

Анализ проводили с целью установления присадок (функциональных добавок) содержащихся в образце моторного масла, отобранного из мотоцикла (объект № 3), в образцах моторных масел Castrol Power 1 Racing 4T 5W-40 (объект № 1) и MOTUL 300V 4T FACTORY LINE 10W-40 (объект № 2), добавляемых в смазочные материалы для придания определенных эксплуатационных качеств.
Анализ присадок проводили на пластинках «Силуфол» без УФ–индикатора хроматографированием в системе октан – бензол (5:1), длина пробега 10 см.
Обнаружение присадок и их идентификацию проводили с помощью цветных химических реакций с различными реагентами и по их хроматографической подвижности (Rf). В качестве образцов – «свидетелей» использовали различные смазочные материалы из коллекции.
4.1. Обнаружение депрессорно-загущающих присадок
После обработки хроматограммы исследуемых масел (объекты №№ 1-3) водой проявлялись бесцветные несмачиваемые (гидрофобные) следы длиной от старта от 5 см до 10см соответственно, указывающие на наличие в составе масел вязкостной присадки полимерной природы (фото 15).
В качестве загустителей используют полиизобутилены с различной молекулярной массой (КП-5, КП-10, КП-20), сополимеры этилена и пропилена, полиалкилметакрилаты (ПМА «В-1», ПМА «В-2», ПМА «Д», Дизакрил); полимер винил-н-бутилового эфира (ВИНИПОЛ ВБ-2)., гидрированные сополимеры диенов и стирола.
Практически все вышеперечисленные загустители применяются в моторных маслах. В трансмиссионных маслах в основном применяются высокостойкие к деструкции полиалкилметакрилаты (ПМА) – загустители.

4.2. Обнаружение дитиофосфатов цинка
Хроматограммы обрабатывали раствором 0,05 % дитизона в хлороформе, в результате реакции на всех дорожках проявлялись ярко розовые следы, обусловленные образованием комплексного соединения цинка, содержащегося в составе дитиофосфатных присадок (фото 16). Дитиофосфаты цинка содержатся преимущественно в качестве ингибиторов окисления в моторных и в некоторых трансмиссионных маслах. Кроме антиокислительного действия они придают маслам высокие противоизносные и антикоррозионные свойства. На этом основании можно утверждать, что в составе образцов сравниваемых масел содержатся дитиофосфаты цинка.

4.3.Обнаружение алкилфенолятов и алкилсалицилатов
Хроматограммы обрабатывали смесью 0,1% спиртовых растворов бромфенолого синего и бромкрезолового зеленого (фото 17), в результате чего на хроматограмме объектов №1-3 зафиксирован след голубого цвета, свидетельствующий о щелочной среде масла, которая обусловлена наличием в его составе соединений, используемых в качестве моюще - диспергирующих присадок (алкилфенолятов или алкилсалицилатов (кальциевые и (или) магниевые соли алкилфенолов и алкилсалициловой кислоты).
Основное назначение моюще - диспергирующих присадок состоит в предотвращении отложения продуктов окисления масел на металлических поверхностях, уменьшении количества осадков и нагара на деталях путем удержания во взвешенном состоянии нерастворимых в масле веществ, нейтрализации кислот, образующихся в процессе эксплуатации двигателя вследствие окисления масла и сгорания топлива.

4.4. Обнаружение беззольных антиокислительных присадок алкилпроизводных ароматических аминов
После обработки хроматограмм 0,1% раствором п-диметиламинокоричного альдегида в этаноле, подкисленным соляной или серной кислотами до pH 2-3, на дорожках образцов масел №1-3 проявлялись розовые пятна вытянутой формы в области значений Rf 0,05 - 0,15, обусловленные наличием алкилпроизводных ароматических аминов (фото 18).

Ароматические амины, например, алкилпроизводные дифениламина (ДФА) часто вводят в состав высококачественных моторных и трансмиссионных масел в качестве беззольных антиокислительных присадок. В зарубежных моторных маслах применяют присадку на основе бутил- или нонилзамещенных ДФА.
Противоокислительные присадки замедляют окисление масел и неизбежно следующее за ним образование коррозионно-активных осадков.
Таким образом, на основании полученных результатов можно заключить, что представленные на исследование СМ (объекты №№ 1-3), содержат присадки, представляющие собой соединения одинаковых химических классов и функционального назначения, совокупность которых характерна для моторных масел.
С целью сравнительного исследования структурно-группового состава сравниваемых моторных масел №1-3 проводили исследование методом ИК - Фурье - спектроскопии.
Пробу масла для регистрации ИК - спектров готовили в виде пленки между двумя стеклами из селенида цинка. Регистрацию ИК-спектров проводили на ИК-Фурье спектрометре Infralum FT-801, спектральный диапазон регистрации 4000-400 см-1, режим пропускания, разрешение 4 см-1, число сканирований 50.
ИК – спектры лакообразного наслоения на вкладышах двигателя мотоцикла, образец моторного масла из мотоцикла и образец моторного масла MOTUL 300V 4T FACTORY LINE 10W-40 (рис.5-7), содержат совокупность полос поглощения характерная для полиметакрилатов:
- 1730-1740 см-1- валентные колебания карбонильной группы С=О сложноэфирной группы;
- 1152-1154, 1170 - 1174 см-1 - колебаниия С-О-С простой эфирной связи.
Полиалкилметакрилаты (ПМА) применяются в качестве депрессорно-загущающих присадок.




Таким образом, наслоения на вкладышах двигателя представляю собой лаковую пленку (пленки, состоящие из продуктов окисления, откладывающиеся на горячих поверхностях).
ИК – спектры лакообразного наслоения на вкладышах
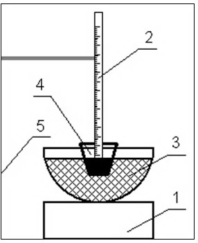
Температура вспышки t°овсп – это минимальная температура, при кото¬рой пары масла, нагретого в специальной установке, образуют с воздухом смесь, воспламеняющуюся от постороннего источника. По этому показателю косвенно определяют углеводородный состав масла, а также наличие примесей топлива в нем.
Исследование заключалось в нагревании пробы масла в открытом тигле с установленной скоростью до тех пор, пока не произойдет вспышка паров нефтепродукта над его поверхностью от зажигательного устройства.
Для определения температуры вспышки масла использовали установку, представленную на рис. 9.

Температура вспышки масла из мотоцикла составляет 150 °С.
Современные масла при производстве имеют температуру вспышки, превышающую 200 °С. Снижение температуры вспышки масла указывает на присутствие в нем топлива.
Присутствие топлива значительно снижает t° всп масла: при попадании в масло 1 % бензина tовсп снижается от 200 до 170 °С, а наличие в масле 6 % бензина снижает ее почти в 2 раза. Зависимость температуры вспышки от содержания топлива в масле представлено на рис. 10.

Суммируя результаты проведенного исследования, можно заключить следующее.
Представленные на исследование образцы моторных масел «Castrol Power 1 Racing 4T» 5W-40 и «MOTUL 300V 4T FACTORY LINE» 10W-40 изготовлены на основе синтетического углеводородного гидрокрекингового масла. В их состав входит комплекс присадок, обладающих антиокислительными, вязкостно-температурными, моюще-диспергирующими свойствами. Такой состав по совокупности входящих в него компонентов характерен для высококачественных моторных масел.
Химический состав масла марки «MOTUL 300V 4T FACTORY LINE» 10W-40 отличается от состава масла «Castrol Power 1 Racing 4T» 5W-40 тем, что в качестве депрессорно-загущающей присадки в нем используется полиалкилметакрилаты (ПМА).
При нагревании образца масла марки «MOTUL 300V 4T FACTORY LINE» 10W-40 в интервале от 150°С до 185°С в течение 5—6 минут превращается в твердую лаковую пленку коричневого цвета с блестящей поверхностью. Наряду с лакообразованием происходит испарение и разложение масла, в результате чего часть масла улетучивается.
Лакообразование из образца масла «Castrol Power 1 Racing 4T» SAE 5W-40 при указанных условиях происходит незначительно.
Исследуемый образец моторного масла, отобранного из двигателя мотоцикла изготовлен на основе гидрокрекингового масла. В нем присутствует комплекс присадок добавляемых в моторные масла: антиокислительные - дитиофосфаты цинка и диалкилпроизводные дифениламина (ДФА), моюще-диспергирующие - соли алкилфенолятов, вязкостная присадка полимерной природы - полиалкилметакрилаты;
• температура вспышки исследуемого масла составляет 150 °С.
Современные масла при производстве имеют температуру вспышки, превышающую 200°С. Снижение температуры вспышки масла указывает на присутствие в нем бензина.
Химический состав масла из мотоцикла, отличается от состава масла «MOTUL 300V 4T FACTORY LINE» 10W-40 тем, что кроме углеводородного масла, полученного по технологии гидрокрекинга, в нем содержатся и более высокомолекулярные углеводороды, а также бензин (около 5%) и абразивные металлические частицы.
Наслоения на вкладышах двигателя представляют собой лаковые пленки (пленки, состоящие из продуктов окисления масла, откладывающиеся на горячих поверхностях). Данные лаковые плёнки не должны присутствовать на парах трения двигателя.
Таким образом, отложения чёрно-коричневого цвета на трущихся деталях двигателя возникли вследствие использования ненадлежащего моторного масла.
1,2. Наслоения на вкладышах двигателя представляют собой лаковые пленки (пленки, состоящие из продуктов окисления масла, откладывающиеся на горячих поверхностях). Данные лаковые плёнки не должны присутствовать на парах трения двигателя.
Образцы моторных масел «Castrol Power 1 Racing 4T» 5W-40 и «MOTUL 300V 4T FACTORY LINE» 10W-40 изготовлены на основе синтетического углеводородного гидрокрекингового масла. В их состав входит комплекс присадок, обладающих антиокислительными, вязкостно-температурными, моюще-диспергирующими свойствами.
Химический состав масла марки «MOTUL 300V 4T FACTORY LINE» 10W-40 отличается от состава масла «Castrol Power 1 Racing 4T» 5W-40 тем, что в качестве депрессорно-загущающей присадки в нем используется полиалкилметакрилаты (ПМА).
При нагревании образца масла марки «MOTUL 300V 4T FACTORY LINE» 10W-40 в интервале от 150°С до 185°С в течение 5—6 минут превращается в твердую лаковую пленку коричневого цвета с блестящей поверхностью. Наряду с лакообразованием происходит испарение и разложение масла, в результате чего часть масла улетучивается.
Лакообразование из образца масла «Castrol Power 1 Racing 4T» SAE 5W-40 при указанных условиях происходит незначительно.
Образец моторного масла, отобранный из двигателя мотоцикла, изготовлен на основе гидрокрекингового масла. В нем присутствует комплекс присадок добавляемых в моторные масла: антиокислительные - дитиофосфаты цинка и диалкилпроизводные дифениламина (ДФА), моюще-диспергирующие - соли алкилфенолятов, вязкостная присадка полимерной природы - полиалкилметакрилаты;
• температура вспышки масла из мотоцикла составляет 150°С.
Химический состав масла из мотоцикла, отличается от состава масла «MOTUL 300V 4T FACTORY LINE» 10W-40 тем, что кроме углеводородного масла, полученного по технологии гидрокрекинга, в нем содержатся и более высокомолекулярные углеводороды, а также бензин (около 5%) и абразивные металлические частицы.
Отложения чёрно-коричневого цвета на трущихся деталях двигателя возникли вследствие использования ненадлежащего моторного масла.
Специалист .... .